REVAS® VENÖSE FEMORALKANÜLE
FEATURES
- Anwendungsdauer bis zu 30 Tage
- Optional mit RHEOPAX®-Beschichtung
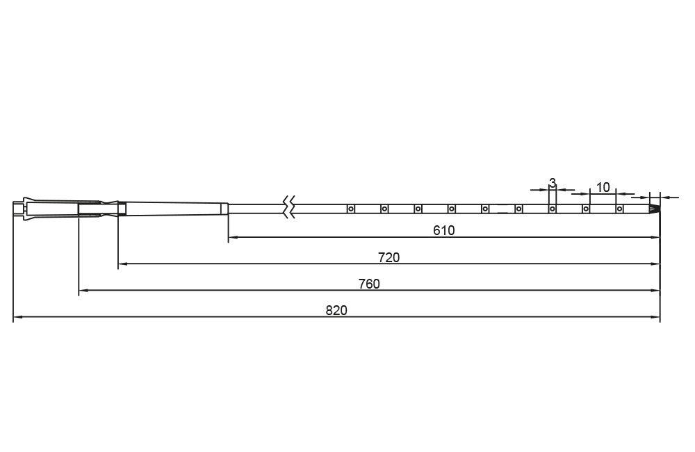
- 22 - 26 Fr. Kanüle mit Drahtverstärkung
- Knickstabilität
- DEHP-frei
- Hohe Flussrate
- Optional REVAS® Einführbesteck

Das bewährte Design unserer REVAS® Femoralkanüle zur venösen Kanülierung bietet eine innovative und einzigartige Kanülierungstechnik zum maximalen Schutz vor chirurgischen Traumata.
Die Knickstabilität und Flexibilität gibt höchstmögliche Sicherheit beim Einführen.